Selected works

Länsi-Uusimaa Healthcare Region
Länsi-Uusimaa Healthcare Region (2022)
Citizen portal for healthcare services
CONCEPT DESIGN
INTERACTION DESIGN
VR.fi – New National Railway Digital Sales Channel
VR.fi – New National Railway Digital Sales Channel (2020)
VR.fi – concept for rail operator web
VR Matkalla – rail travel companion
DESIGN LEAD
CONCEPT DESIGN
INTERACTION DESIGN
Telia Brand Renewal
Telia Brand Renewal (2017)
FI/SE Telia brand upgrade
Sonera ➔ Telia, 2016-2017
DESIGN LEAD
CONCEPT DESIGN
INTERACTION DESIGN
prisma.fi & sokos.fi
prisma.fi & sokos.fi (2014)
Best web shops still in 2017
according to Magenta Advisory.
CONCEPT DESIGN
INTERACTION DESIGN
CLIENT LEAD
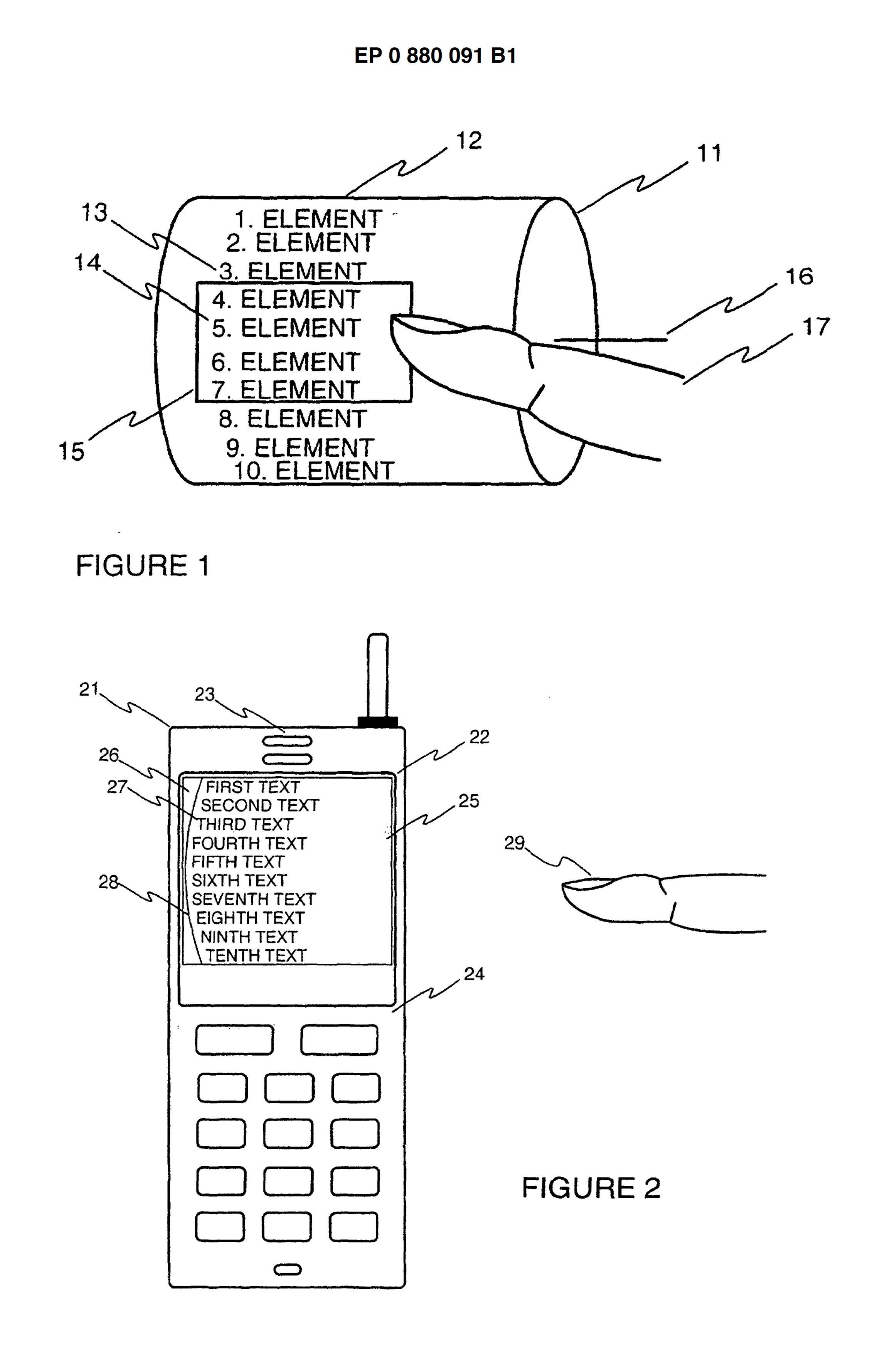
Kinetic scrolling
Kinetic scrolling (1998)
Inventor in world-changing patent of kinetic scrolling, which is prevalent in all current touch devices.
RESEARCH
INNOVATION